• О компании
    • Новости
    • Продукция
    • Вакансии
    • История
    • Партнеры
  • Сертификаты
  • Услуги
  • Проекты
  • Отраслевые решения
  • Как купить
    • Условия оплаты
    • Условия доставки
    • Гарантия на товар
  • Контакты
  • Вакансии
  • Оплата
Войти
Вход для монтажников
ООО МелданаСБ
Ваш город
Каменск-Уральский
Оставить заявку
Заказать звонок
8 (800) 775-65-96
sale@meldana.com
Сотовая связь и интернет
Сети передачи данных
СКУД и досмотр
Видеонаблюдение
Подавители связи и БПЛА
Ещё
    ООО МелданаСБ
    Каталог
    • Тепловизоры, контроль температуры
      Тепловизоры, контроль температуры
    • Усилители сотовой связи, интернета
      Усилители сотовой связи, интернета
    • Подавители связи и БПЛА, антидрон
      Подавители связи и БПЛА, антидрон
    • Системы кабельной связи
      Системы кабельной связи
    • Досмотровое оборудование
      Досмотровое оборудование
    • Видеонаблюдение
      Видеонаблюдение
    • Системы контроля и управления доступом (СКУД)
      Системы контроля и управления доступом (СКУД)
    • Системы звукового оповещения и музыкальной трансляции
    Услуги
    • Подавление БПЛА и системы антидрон
      Подавление БПЛА и системы антидрон
    • Сотовая связь и интернет
      Сотовая связь и интернет
    • Беспроводные сети связи
      Беспроводные сети связи
    • Проводные системы связи  (СКС, ЛВС, ВОЛС)
      Проводные системы связи (СКС, ЛВС, ВОЛС)
    • Установка видеонаблюдения
      Установка видеонаблюдения
    • Умное видеонаблюдение и видеоаналитика
      Умное видеонаблюдение и видеоаналитика
    • Системы безопасности (СКУД)
      Системы безопасности (СКУД)
    • Охранно-пожарная сигнализация
      Охранно-пожарная сигнализация
    • Ремонт и разработка
      Ремонт и разработка
    • Услуги для операторов связи
      Услуги для операторов связи
    • АТС и Телефония
      АТС и Телефония
    • Администрирование и организация решений
      Администрирование и организация решений
    • Досмотровое оборудование
      Досмотровое оборудование
    • Обслуживание промышленных объектов
      Обслуживание промышленных объектов
    • Бесперебойное питание
      Бесперебойное питание
    • Битрикс24
      Битрикс24
    Как купить
    • Условия оплаты
    • Условия доставки
    • Гарантия на товар
    Контакты
    Отраслевые решения
    Компания
    • Новости
    • Продукция
    • Вакансии
    • История
    • Партнеры
    Проекты
    • Усиление связи и интернет
    • Беспроводные сети
    • СКС
    • СКУД
    • Видеонаблюдение
    • Бесконтактное измерение температуры
    • Проектирование
    • Защита от дронов
    Оплата
    Ещё
      ООО МелданаСБ
      Отложенные 0 Корзина 0
      Телефоны
      8 (800) 775-65-96
      Заказать звонок
      • Главная
      • Каталог
        • Назад
        • Каталог
        • Усилители сотовой связи, интернета
          • Назад
          • Усилители сотовой связи, интернета
          • Репитеры
          • Усилители сигнала GSM, 3G, 4G/LTE
          • Усилители интернета 3G, 4G (LTE)
          • Усилители для дачи GSM/3G/4G/LTE
          • Бустеры сигнала
          • Антенны для усиления сотовой связи
          • Усилители связи для автомобилей
          • USB Модемы и интернет станции
          • Коаксиальные кабели
          • Коннекторы
          • Комбайнеры
          • Ответвители сигнала
          • Сплиттеры
          • Аттенюаторы, грозозащита
          • Стационарные сотовые телефоны
          • Спутниковый интернет
        • Подавители связи и БПЛА, антидрон
          • Назад
          • Подавители связи и БПЛА, антидрон
          • Подавители FPV дронов в Каменске-Уральском
          • Подавители БПЛА, дронов в Каменске-Уральском
          • Детекторы и обнаружители БПЛА в Каменске-Уральском
          • Подавители сигналов сотовой связи
          • Комплексы обнаружения и подавления БПЛА
        • Системы кабельной связи
          • Назад
          • Системы кабельной связи
          • Структурированная кабельная система
          • Передача сигнала по оптоволоконному кабелю
        • Досмотровое оборудование
          • Назад
          • Досмотровое оборудование
          • Металлодетекторы
          • Алкотестеры
          • Тепловизоры для измерения температуры тела
          • Телевизионные досмотровые системы
          • Газоанализаторы
          • Интроскопы рентгенотелевизионные
        • Видеонаблюдение
          • Назад
          • Видеонаблюдение
          • Готовые комплекты видеонаблюдения
          • Аналоговые камеры
          • IP-камеры
          • Поворотные камеры
          • Тепловизионные камеры
          • Распределительные коробки для видеокамер
          • Управляемые коммутаторы
          • Видеорегистраторы
          • Видеосерверы
          • Программное обеспечение для видеонаблюдения
        • Системы контроля и управления доступом (СКУД)
          • Назад
          • Системы контроля и управления доступом (СКУД)
          • Калитки
          • Программное обеспечение СКУД
          • Биометрические системы распознавания лиц
          • Турникеты
          • Панель управления
          • Картоприемники
          • Считыватели СКУД
          • Контроллеры СКУД
          • Преобразователи интерфейсов
          • ЭлектроКонтроль
          • Бесконтактная идентификация COVID-19
        • Системы звукового оповещения и музыкальной трансляции
      • Услуги
        • Назад
        • Услуги
        • Подавление БПЛА и системы антидрон
        • Сотовая связь и интернет
        • Беспроводные сети связи
        • Проводные системы связи (СКС, ЛВС, ВОЛС)
        • Установка видеонаблюдения
        • Умное видеонаблюдение и видеоаналитика
        • Системы безопасности (СКУД)
        • Охранно-пожарная сигнализация
        • Ремонт и разработка
        • Услуги для операторов связи
        • АТС и Телефония
        • Администрирование и организация решений
        • Досмотровое оборудование
        • Обслуживание промышленных объектов
        • Бесперебойное питание
        • Битрикс24
      • Как купить
        • Назад
        • Как купить
        • Условия оплаты
        • Условия доставки
        • Гарантия на товар
      • Контакты
      • Отраслевые решения
      • Компания
        • Назад
        • Компания
        • Новости
        • Продукция
          • Назад
          • Продукция
          • Антидрон
          • Видеонаблюдение и видеоаналитика
          • СКУД
          • Сертифицированная СКС
          • ЗОК Заслон
        • Вакансии
        • История
        • Партнеры
      • Проекты
        • Назад
        • Проекты
        • Усиление связи и интернет
        • Беспроводные сети
        • СКС
        • СКУД
        • Видеонаблюдение
        • Бесконтактное измерение температуры
        • Проектирование
        • Защита от дронов
      • Оплата
      • Каменск-Уральский
        • Назад
        • Города
        • Екатеринбург
        • Москва
        • Санкт-Петербург
        • Новосибирск
        • Абакан
        • Алматы
        • Анадырь
        • Анапа
        • Архангельск
        • Астрахань
        • Балашиха
        • Барвиха
        • Барнаул
        • Белгород
        • Бийск
        • Благовещенск
        • Брянск
        • Великий Новгород
        • Верхняя Пышма
        • Верхняя Салда
        • Владивосток
        • Владикавказ
        • Владимир
        • Волгоград
        • Вологда
        • Воронеж
        • Геленджик
        • Горно-Алтайск
        • Грозный
        • Долгопрудный
        • Домодедово
        • Донецк
        • Дубна
        • Иваново
        • Ижевск
        • Иркутск
        • Йошкар-Ола
        • Казань
        • Калининград
        • Калуга
        • Каменск-Уральский
        • Кемерово
        • Керчь
        • Киров
        • Клин
        • Когалым
        • Коломна
        • Конаково
        • Королев
        • Кострома
        • Красногорск
        • Краснодар
        • Красноярск
        • Курган
        • Курск
        • Лангепас
        • Липецк
        • Луганск
        • Люберцы
        • Магадан
        • Магнитогорск
        • Мариуполь
        • Мегион
        • Мелитополь
        • Минск
        • Мурманск
        • Мытищи
        • Набережные Челны
        • Наро-Фоминск
        • Нарьян-Мар
        • Находка
        • Нефтеюганск
        • Нижневартовск
        • Нижний Новгород
        • Нижний Тагил
        • Новокузнецк
        • Новороссийск
        • Новоуральск
        • Новый Уренгой
        • Норильск
        • Ноябрьск
        • Нурсултан
        • Нягань
        • Обнинск
        • Одинцово
        • Омск
        • Орёл
        • Оренбург
        • Орехово-Зуево
        • Пенза
        • Первоуральск
        • Пермь
        • Петрозаводск
        • Петропавловск-Камчатский
        • Псков
        • Реутов
        • Ростов-на-Дону
        • Рязань
        • Салехард
        • Самара
        • Саратов
        • Севастополь
        • Сергиев Посад
        • Серпухов
        • Симферополь
        • Смоленск
        • Сочи
        • Ставрополь
        • Старый Оскол
        • Ступино
        • Сургут
        • Сыктывкар
        • Тамбов
        • Тверь
        • Тольятти
        • Томск
        • Тула
        • Тюмень
        • Улан-Удэ
        • Ульяновск
        • Усть-луга
        • Уфа
        • Хабаровск
        • Ханты-Мансийск
        • Херсон
        • Химки
        • Чебоксары
        • Челябинск
        • Череповец
        • Чита
        • Электросталь
        • Южно-Сахалинск
        • Якутск
        • Ялта
        • Ярославль
      • Личный кабинет
      • Корзина0
      • Отложенные0
      • 8 (800) 775-65-96
      Контактная информация
      пр. Победы, 11А
      sale@meldana.com
      • Вконтакте
      • YouTube

      Интеграция СКУД с 1С

      Мелдана
      -
      Услуги
      -
      Системы безопасности (СКУД)
      -Интеграция СКУД с 1С
      Поделиться
      Код PHPodnoklassniki,moimir,twitter,viber,whatsapp,skype,telegram">

      Связаться со специалистами компании можно несколькими способами:
      - По телефону: 8 (800) 775-65-96
      - По E-mail: sale@meldana.com или через форму

      Заказать консультацию
      Интеграция СКУД с 1С
      Интеграция СКУД с 1С
      Монтаж СКУД
      Ввод в систему 2-3 идентификаторов, обучение персонала 2.000 руб.
      Установка ПО сервера СКУД 2.000 руб.
      Содержание:

      1. Для чего интегрировать систему?
      2. Основные функции, сложности реализации
      3. Учет фактического рабочего времени сотрудников
      4. «1С: Предприятие»
      5. Работа СКУД под управлением программного пакета 1С
      6. Бухгалтерия
      7. Отдел кадров

      Глобальное развитие IT-технологий в сфере автоматизированных систем управления предприятий и систем безопасности естественным образом привело к появлению на рынке интегрированных решений данных систем. Речь в статье пойдёт именно об интеграции системы контроля доступа с программным комплексом 1С, как одой из наиболее популярных систем АСУ в России. 

      1С, как продукт АСУ – позволяет оперативно формировать отчеты по следующим параметрам – история карьерного роста сотрудников, командировок, больничных, упрощает оформление новых сотрудников, ведения реестра их данных. Так же она облегчает процесс выявления нарушения в кадровых процессах, систематизирует учетные и расчетные процессы.

      Одним из наиболее популярных и важны блоков в 1С является – расчет заработной платы и автоматизация ведения кадрового учета. Именно в этой части данные СКУД, наиболее ценны для автоматизации совместных процессов.

      Так, система доступа предоставляет достоверную информацию о пребывании сотрудника на территории предприятия или рабочем месте. Объединение данных в этих областях автоматизируют работу следующих подразделений организации:

      • Службы безопасности
      • Бухгалтерии
      • Отдела кадров

      Для чего интегрировать систему?

      На практике вопрос интеграции СКУД и систем автоматизации на базе семейства программ 1С возникает достаточно часто. Нередко это прописано в ТЗ. В рамках различных брендов имеется сразу несколько вариантов подобной интеграции. Однако главная сложность данного вопроса зачастую заключается в нечеткой и неконкретной постановке задачи, в фактическом непонимании конечных практических целей данной интеграции, как со стороны исполнителя, так и со стороны заказчика. Поставьте эксперимент и попробуйте ответить себе на следующие вопросы:

      • Какие именно сведения СКУД нужны в системе автоматизации 1С?
      • Как часто эти сведения должны формироваться и выдаваться в 1С?
      • В какую конкретно программу семейства 1С (и какой версии) должны попадать эти сведения и в какие справочники?
      • С какой целью и в какой форме данные сведения должны попадать в данную программу 1С?
      • В интересах какого конкретно должностного лица производится реализация данной интеграционной технологии?
      • Была ли предварительная беседа с этим конкретным должностным лицом и удалось ли достичь полного и совместного понимания конкретных задач и форм интеграции?
      archiv.jpg

      К сожалению, опыт показывает, что в 9-ти случаях из 10 вразумительные ответы отсутствуют. Это приводит к неверному выбору способа и продукта интеграции, к неверной установке и неэффективному использованию данных продуктов. В любом случае, для интеграции СКУД и 1С нужен квалифицированный специалист 1С и полное понимание сути вопроса, причем не только на этапе инсталляции, но и в процессе эксплуатации. Не существует продукта интеграции СКУД и 1С на принципе Plug&Play. Каждая реализация интеграции — это индивидуальная и кропотливая работа.

      Основные функции, сложности реализации

      Говоря об интеграции систем управления контролем доступа, нельзя говорить об интеграции с 1С в целом.

      Чтобы разобраться в этом утверждении, нужно понять, что 1С – это программная платформа, на которой создаются определенные типовые конфигурации, отвечающие требованиям определенных бизнес-процессов или компаний (логистика, склад, бухгалтерия, торговля). Наряду с типовыми конфигурациями 1С, могут быть созданы и нетиповые конфигурации под определенный набор задач, что требует программной доработки продукта.

      Ввиду различий конфигураций степень интеграции 1С и СКУД будет отличаться. Соответственно, будет и круг решаемых задач, которые можно будет переложить на системы управления контроля доступом.

      Рассмотрим наиболее распространенные функции интеграции:

      • Синхронизация кадровой базы (списки персонала, графики работы, соблюдение рабочего графика),
      • Подсчет времени работы персонала (готовый табель Т13, время нахождения персонала на рабочем месте),
      • Интеграция СКУД в бизнес-процессы предприятия (предоставление доступа посетителям по заранее сформированному штрих-коду)
      • Прямое управление уровнем доступа из 1С (минимизация необходимости перепрограммирования контроллера СКУД).

      Кроме вышеописанных функций, СКУД может выполнять и ряд других задач, но возможность реализации, в таких случаях, должна изучаться отдельно на основании имеющихся данных об используемой конфигурации 1С и выбранной системе контроля управления доступом.

      Рассмотрим принцип работы некоторых из функций.

      Учет фактического рабочего времени сотрудников

      • Поддержка многофирменного учета;
      • Контроль опозданий и ранних уходов сотрудников;
      • Расчет фактически отработанного времени по различным стратегиям расчета с учетом текущего графика работы сотрудника;
      • Формирование единого табеля учета рабочего времени вне зависимости от количества объектов по которым перемещался сотрудник в течение расчетного периода;
      • Формирование табеля учета рабочего времени с учетом вечерних и ночных часов работы
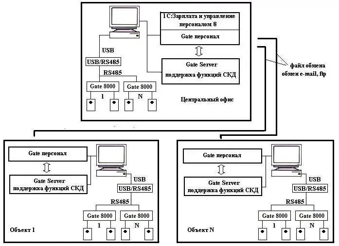
      1c-enterprise-81-shema.jpg

      «1С: Предприятие»

      Программный пакет 1С предназначен для управления предприятием и позволяет получать отчеты практически по любым параметрам. Например, можно проследить историю карьеры сотрудника, его больничных, командировок и т. д. Встроенная система кадрового учета облегчает процесс приема на работу, увольнения и должностных перемещений сотрудников, ведение реестра личных карточек сотрудников с набором различных сведений о них. Кроме того, система автоматизации позволяет выявлять нарушения в кадровых процессах, поддерживать принятие решений по их нормализации, упорядочить все учетные и расчетные процессы с персоналом, снизить возможные потери из-за ухода сотрудников.

      anviz1csa1.png

      Системы контроля и управления доступом (СКУД)

      Одним из наиболее востребованных блоков «1С: Предприятия» является автоматизация оперативного кадрового учета и расчета зарплаты. В частности, именно для этого сегмента особой важностью обладают данные, накапливаемые системой контроля и управления доступом. Современные СКУД предоставляют достоверные и разнообразные данные о пребывании сотрудника на территории предприятия или его отдельных подразделений. Но, к сожалению, большинство этих систем пока не могут работать под управлением программного пакета 1С либо оперативно взаимодействовать с ним. Это связано с эволюцией развития СКУД из сферы безопасности, где она традиционно решала задачи ограничения и разграничение доступа, организацию контролируемого прохода и проезда в разные зоны и территорию предприятия и т. д. Данные СКУД, как правило, либо вообще не попадали в систему управленческого учета, либо переносились вручную. Реже разрабатывалась и внедрялась некоторая методика периодического и полуавтоматического переноса данных. При этом теряется не только оперативность поступления данных, но и их разнообразие и объем.

      810s.gif

      Работа СКУД под управлением программного пакета 1С

      Организация работы СКУД непосредственно под управлением программного пакета 1С позволяет решить очень многие из упомянутых задач и проблем, повысить эффективность всей системы управления, сократить трудозатраты ряда отделов и количество ошибок. Какие же преимущества дает такая интеграция? 

      Прежде всего это создание единого информационного пространства и системы по организации пропускного режима, учету фактически отработанного времени, движения автотранспорта и перемещения товарно-материальных ценностей на основе оптимального использования достоинств СКУД и программ управления. Полная интеграция с учетными программами «1С: Предприятие 8» «Зарплата и управление персоналом» и «1С: Предприятие 8» «Управление производственным предприятием» обеспечивает решение прямо из приложений 1С, целого ряда задач:

      • Оперативное управление контроллерами СКУД;
      • Автоматизация работы бюро пропусков как в части своих сотрудников, так и в части посетителей, и в части автотранспорта;
      • Автоматическое формирование табелей учета рабочего времени с поддержкой плавающих и сменных графиков работы;
      • Централизованное управление территориально распределенными объектами предприятия, а также организация контроля местных командировок сотрудников и посещения ими этих подразделений;
      • Автоматизация учета вноса/выноса материальных ценностей.
      1C-expand.png

      Данный подход повышает эффективность и затрагивает в первую очередь работу бухгалтерии, отдела кадров и службы безопасности предприятия. Что же дает внедрение единой информационной автоматизированной системы для каждой из этих служб?

      Служба безопасности

      Во-первых управление пропусками и уровнями доступа сотрудников с сохранением истории передачи пропусков и изменения допусков. Во-вторых, возможность связи личных данных клиента либо сотрудника с перемещаемыми товарно-материальными ценностями. В интересах службы безопасности система обеспечивает:

      • Мониторинг событий в режиме реального времени;
      • Оперативный контроль местонахождения посетителей и сотрудников;
      • Контроль въезда/выезда автотранспорта;
      • Фотографирование посетителей с привязкой сканов документов при выдаче пропуска;
      • Фотоверификацию сотрудников и посетителей при проходе через пропускные пункты;
      • Возможность получения интегрированной информации о посетителе/сотруднике: личные данные, номер и характеристики автотранспорта и характеристики полученных товарно-материальных ценностей.
      1c-global.png

      Бухгалтерия

      Для бухгалтерии внедрение единой системы позволяет:

      • Автоматизировать формирование табелей учета рабочего времени и расчет заработной платы на основании данных проходных;
      • Формировать табели учета рабочего времени по нескольким стратегиям расчета, а также с учетом изменения графика работы сотрудника в течение отчетного периода, с учетом командировок и больничных листов;
      • Вести учет переработок с учетом вечерних и ночных часов;
      • Формировать единый табель учета рабочего времени при наличии территориально распределенных объектов.
      s-20-personal.gif

      Отдел кадров

      Для отдела кадров использование единой информационной системы позволяет:

      • Эффективно вести контроль трудовой дисциплины;
      • Проводить анализ опозданий и ранних уходов сотрудников за произвольный период времени;
      • Организовать оперативную выдачу/изъятие пропусков посетителей/сотрудников, изменение режимов работы и уровней доступа;
      • Проводить анализ переработок;
      • Вести контроль отгулов и местных командировок сотрудников.

      Примеры проектов от компании «Мелдана»

      Нам доверяют:

      • TELE2
      • Сбербанк
      • Coca-Cola
      • Kамаз (Система Видеонаблюдения для ГК Камаз)
      • SDEK (Монтаж видеонаблюдения на складе ТК Сдек)
      • МГУ 
      • Банк России
      • IKEA (IKEA CORP. Монтаж сети связи, Видеонаблюдение) и др. 

      Компания с ответственностью подходит к своему делу и получает большое количество положительных отзывов. Заказывая проект видеонаблюдения у нас, вы получаете гарантию качества, навык работы с профессионалами своего дела и людьми, любящими свое дело. ВЫ можете быть спокойны, что сроки проекта, заказанного у нас будут соблюдены.
      Компания Мелдана предоставит только лучшие товары по привлекательным для вас ценам.

      Вывод

      Подобные интегрированные решения позволяют организациям более эффективно вести кадровую политику, экономить средства на фонде заработной платы, контролировать деятельность сотрудников, повышает эффективность контроля и сохранности ТМЦ.

      Товары по теме

        • Панель управления доступом Cominfo Touch Panel 3L+E, настольная
          Быстрый просмотр
          Панель управления доступом Cominfo Touch Panel 3L+E, настольная
          Под заказ
          Подробнее

        Цены на услуги

        Примерная стоимость на услуги монтажа, проектирования и установку систем контроля управления доступом (СКУД) на

        Прайс-лист

        НАИМЕНОВАНИЕ РАБОТ: ЕД.ИЗМ. ЦЕНА*
        Установка турникета
        трипод 1 шт. 9 000,00
        тумбовый 1 шт. 12 000,00
        тумбовый быстропроходной с распашными створками 1 шт. 30 000,00
        полноростовой 1 шт. 40 000,00
        Установка калитки "Антипаника" 1 шт. 2 000,00
        Установка дополнительных ограждений
        полуростовые 1 секция 1 500,00
        полноростовой 1 секция 2 000,00
        Установка СКУД "Дверь", комплект (считыватель, кнопка, доводчик, эл.замок) 1 шт. 10 000,00
        Установка СКУД "Видеодомофон", комплект (вызывная панель, кнопка, доводчик, эл.замок) 1 шт. 10 000,00
        Металлорамка
        сборка, настройка, обучение персонала 1 шт. 3 000,00
        установка 1 шт. 2 000,00
        Установка шлагбаума
        монтаж бетонного основания 1 шт. 6 000,00
        сборка и монтаж тумбы (фотоэлементы, пружина, опора для стрелы) 1 шт. 20 000,00
        монтаж стоек со считывателями 1 шт. 5 000,00
        Установка программного обеспечения (ПО) и пуско-наладка
        установка ПО сервера СКУД 1 шт. 2 000,00
        ввод в систему 2-3 идентификаторов, обучение персонала 1 шт. 2 000,00
        Монтаж кабеля
        в кабель-канале 1 м. 115,00
        прокладка в грунте 1 м. 300,00

        Вы можете связаться со специалистами компании несколькими способами:
        - Вы можете связаться со специалистами по номеру: 8 (800) 775-65-96
        - Напишите нам на E-mail: sale@meldana.com или через форму

        Заказать услугу
        Почему выбирают нас?
        Соблюдение сроков поставки. В 76% случаев мы привозим оборудование раньше срока
        Гарантия на всю продукцию до 3 лет. При этом наш уровень цен на 10-15% ниже среднерыночных
        Высококлассные специалисты с опытом работы от 3 лет
        Время обработки заявки до 1 часа
        Поставляем только сертифицированную продукцию
        Оборудование «под ключ» с монтажом и пуско-наладкой

        Назад к списку

        Наши проекты

        Все проекты
        • Усиление сотового сигнала в жилом комплексе «Макаровский»
          Усиление сотового сигнала в жилом комплексе «Макаровский»
        • Замена системы безопасности для Уралхиммашзавода
          Замена системы безопасности для Уралхиммашзавода
        • Усиление сотового сигнала в ЖК «Ольховский парк»
          Усиление сотового сигнала в ЖК «Ольховский парк»
        • Переоборудование контрольно-пропускного пункта на заводе ООО «Барилла РУС»
          Переоборудование контрольно-пропускного пункта на заводе ООО «Барилла РУС»
        • Установка источника бесперебойного питания на объекте «Егорлык Молоко»
          Установка источника бесперебойного питания на объекте «Егорлык Молоко»
        • СКС и видеонаблюдение в распределительном центре «Золотое яблоко»
          СКС и видеонаблюдение в распределительном центре «Золотое яблоко»
        • Усиление сигнала сотовой связи в торговой сети «Lamel»
          Усиление сигнала сотовой связи в торговой сети «Lamel»
        • СКС и ЛВС для банка "Тинькофф"
          СКС и ЛВС для банка "Тинькофф"
        • Усиление сигнала связи для сети магазинов и склада "Перекрёсток"
          Усиление сигнала связи для сети магазинов и склада "Перекрёсток"
        Статьи
        Все статьи
        Умный город Каменск-Уральский: Системы учета посещаемости в учебных заведениях
        Интеллектуальное видеонаблюдение для ритейла в Каменске-Уральском
        Переоборудование контрольно-пропускного пункта на заводе ООО «Барилла РУС»
        Новости
        Все новости
        19 декабря 2025
        Мелданы СБ в авангарде интегрированной защиты
        19 декабря 2025
        Новые правила защиты бизнеса от атак с воздуха
        13 декабря 2025
        Новый стандарт безопасности ГОСТ Р 71934-2025​
        Компания
        О компании
        Новости
        Продукция
        Вакансии
        Политика
        Партнерам
        Информация
        Условия оплаты
        Условия доставки
        Гарантия на товар
        Карта покрытия GSM, 3G, 4G в Каменске-Уральском
        Помощь
        Блог
        Бренды
        Оставайтесь на связи
        • Вконтакте
        • YouTube
        Наши контакты
        8 (800) 775-65-96
        sale@meldana.com
        пр. Победы, 11А
        2011- 2026 © Мелдана СБ
        Услуги и оборудование сетей связи и систем безопасности в городе Каменск-Уральский ООО "Мелдана СБ" ООО "Мелдана СБ"
        г.Екатеринбург, ул. Техническая 32
        Телефон: 8 (800) 775-65-96
        Мы работаем ежедневно с 09:00 до 19:00